- Пневматичний турбінний вібратор високої потужності, без мастила, серія зі зниженим рівнем шуму під час роботи.
- Турбо вібратори з частотою обертання від 5800 до 46000 об/хв та сила вібрації від 135 до 12000 Н.
- Плавне регулювання параметрів за рахунок регулювання тиску стисненого повітря.
- Максимальна робоча температура 150 ℃.
- Підходить для екстремально-суворих умов роботи.
- Області застосування: запобігання налипанню матеріалу на стінки бункера, вібростолу, фільтруюче сита; випорожнення бункера; транспортування матеріалу.
- Проста конструкція з двома отворами кріплення.
- Підходить для харчової та фармацевтичної промисловості.
Турбінний вібратор GT серія

Пневматичний турбінний вібратор GT серія
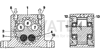
Конструкція

| 1. | Корпус із екструдованого алюмінієвого сплаву |
| 2. | Алюмінієве робоче колесо турбіни з твердим покриттям |
| 3-4. | Маса високої щільності для створення позитивного моменту |
| 5-7. | Порожнини для створення негативного моменту |
| 8. | Вхід повітря (різьба BSPP) |
| 9. | Вихід повітря (різьба BSPP) |
| 10. | Отвори для кріплення основи |
| 11. | Спеціальні попередньо змащені підшипники із захисними шайбами |
| 12. | Алюмінієва торцева пластина з твердим покриттям та лівою різьбою |
| 13. | Алюмінієва торцева пластина з твердим покриттям та правою різьбою |
Технічні характеристики
| Модель | Частота обертання (об/хв) | Сила вібрації (Н) | Витрата повітря (л/хв) | ||||||
| 0,2МПа | 0,4МПа | 0,6МПа | 0,2МПа | 0,4МПа | 0,6МПа | 0,2МПа | 0,4МПа | 0,6МПа | |
| GT4 | 40100 | 60100 | 78500 | 710 | 1800 | 2225 | 30 | 40 | 50 |
| GT6 | 37400 | 50000 | 60900 | 600 | 1000 | 2000 | |||
| GT8 | 35850 | 43000 | 45900 | 980 | 2100 | 2950 | 48 | 75 | 152 |
| GT10 | 26950 | 34800 | 37600 | 850 | 1400 | 2450 | |||
| GT13 | 25950 | 30050 | 39800 | 1450 | 2450 | 3700 | 125 | 210 | 280 |
| GT16 | 16950 | 21800 | 24100 | 1250 | 2100 | 3150 | |||
| GT20 | 16950 | 19800 | 23100 | 2180 | 4050 | 5500 | 188 | 315 | 465 |
| GT25 | 11980 | 15600 | 17100 | 2150 | 3550 | 5600 | |||
| GT30 | 12990 | 14010 | 16100 | 3400 | 5450 | 7550 | 335 | 520 | 755 |
| GT36 | 7990 | 10100 | 13000 | 3300 | 5380 | 7180 | |||
| GT40 | 7650 | 8850 | 9550 | 4350 | 7350 | 9850 | 428 | 680 | 960 |
| GT48 | 5800 | 7550 | 9750 | 4950 | 7750 | 10600 | |||
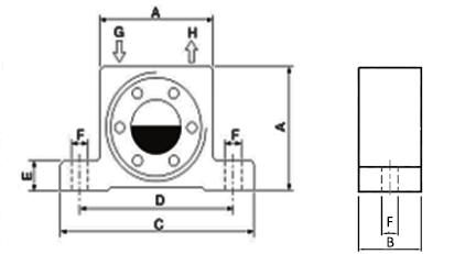
Номер для замовлення та розміри
| Модель | A | B | С | D | E | F | G | H | Вага |
| мм | мм | мм | мм | мм | мм | BSPP | BSPP | кг | |
| GT4 | 40 | 28 | 70 | 56 | 10 | 6 | G1/8 | G1/8 | 0,185 |
| GT6 | |||||||||
| GT8 | 50 | 33 | 86 | 68 | 12 | 7 | G1/8 | G1/8 | 0,256 |
| GT10 | |||||||||
| GT13 | 65 | 42 | 113 | 90 | 16 | 9 | G1/4 | G1/4 | 0,566 |
| GT16 | 0,582 | ||||||||
| GT20 | 80 | 56 | 128 | 104 | 16 | 9 | G1/4 | G1/4 | 1,095 |
| GT25 | 1,121 | ||||||||
| GT30 | 100 | 73 | 160 | 130 | 20 | 11 | G3/8 | G3/8 | 2,220 |
| GT36 | 2,320 | ||||||||
| GT40 | 120 | 83 | 194 | 152 | 24 | 17 | G3/8 | G3/8 | 3,680 |
| GT48 | 3,880 |

Комплектація

Комплект постачання турбінного вібратора включає:
| 1. | Швидкороз'ємний прямий цанговий фітинг під пневматичну трубку 8мм. |
| 2. | Пластиковий глушник під порт вихлопу. |
* на фото приклад комплектації вібратора із замовленим номером GT10.
Приклад використання


